WTM 200
Body
Notice:
Please note that some parts only exist in the exploded drawings but not in the spare parts table.
These parts can not be ordered separately!
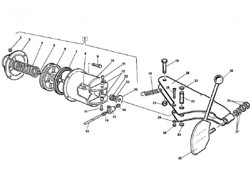
Arms horizontal and vertical
Notice:
Please note that some parts only exist in the exploded drawings but not in the spare parts table.
These parts can not be ordered separately!
4 Pedals Box
Notice:
Please note that some parts only exist in the exploded drawings but not in the spare parts table.
These parts can not be ordered separately!
Bead breaker
Notice:
Please note that some parts only exist in the exploded drawings but not in the spare parts table.
These parts can not be ordered separately!
Mounting Tools
Notice:
Please note that some parts only exist in the exploded drawings but not in the spare parts table.
These parts can not be ordered separately!
Self-Centering turntable 20" R12
Notice:
Please note that some parts only exist in the exploded drawings but not in the spare parts table.
These parts can not be ordered separately!
Motor-Reduction Gear Group
Notice:
Please note that some parts only exist in the exploded drawings but not in the spare parts table.
These parts can not be ordered separately!
GT Inflating Device
Notice:
Please note that some parts only exist in the exploded drawings but not in the spare parts table.
These parts can not be ordered separately!
Air Lubrication Group
Notice:
Please note that some parts only exist in the exploded drawings but not in the spare parts table.
These parts can not be ordered separately!
